西铁城走心机3D倒角教程

3D倒角
代码格式

A: 指定工件横向孔的直径。请务必指定本自变量。
C: 指定工件横向孔的倒角宽度。请务必指定本自变量。
D: 指定工件的外径或内径。请在外周倒角加工时指定工件的外径,在内侧倒角加工时指定工件的内径。 请务必指定本自变量。
Q±1: 指定工件外周倒角加工或内侧倒角加工。指定 Q1 表示外周倒角加工,指定 Q−1 表示内侧倒角加工。 请务必指定本自变量。未指定自变量时,将会发生警报。
E: 指定倒角加工的圆弧插补方向。请在 G02 方向 (上切) 时指定为 E2.0,G03 方向 (下切) 时指定为 E3.0。未指定自变量时,加工前进方向将默认为 G03 方向 (下切)。
F: 指定每分钟进给速度 (mm/min)。请务必指定本自变量。
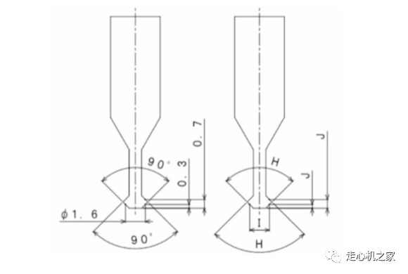
H: 指定刀具前端角度 (锥形角度)。请务必指定本自变量。
I: 指定刀具使用部分的直径。请务必指定本自变量。
J: 指定刀具使用部的高度。请务必指定本自变量。
S: 指定使用长寿命功能时的另一个刀具直径。请指定大于 I 自变量的值。指定数值小于 I 自变量时,将 会发生警报。
T1: 以长寿命功能中 S 自变量所示刀具直径进行加工。请在需要确认运行情况时进行指定。
X: 加工开始时,X 轴移动至指定位置 (工件坐标)。自变量未指定时不移动。
R: 请在需要将刀具从加工开始时的 X 轴位置进一步靠近工件时进行指定。指定正数时,X 轴靠近工件。
Z: 加工开始时,Z 轴移动至指定位置 (工件坐标)。自变量未指定时不移动。
K: 加工结束后,X 轴移动至指定位置 (工件坐标)。自变量未指定时移动至加工开始时的 X 轴位置。
U: 指定加工结束后 X 轴的移动位置 (为距离加工结束时 X 轴位置的相对指令)。自变量未指定时默认为 加工开始时的 X 轴位置。
程序实例
工件图

刀具图

程序
G98 ........................................................................ 每分钟进给
M80 S3=3000 ........................................................ 旋转刀具旋转指令 3000 次
T700 ....................................................................... 选择横向旋转刀具
M18 C0 .................................................................. 主轴分度指令
G50 W–15.0 ........................................................... 纵向坐标系移动
G0 X11.0 Z5.0 ........................................................ 刀具定位
G370 A4.0 C0.1 D10.0 F500 H90.0 I1.6 J0.3 Q1... 3D 倒角加工 (外周倒角)
G370 A4.0 C0.1 D7.0 F500 H90.0 I1.6 J0.7 Q–1 ... 3D 倒角加工 (内侧倒角)
G0 X14.0 ................................................................ 刀具后退
G50 W15.0 ............................................................. 纵向坐标系移动取消
END
扫描二维码,获取更多精彩

相关产品:

客服