西铁城机床拉削端跳精度提高有什么方法?宫野机床的拉削端跳精度提高又有什么方法
随着科技的进步,人们对西铁城机床和宫野机床拉削工序中工件端面跳动精度要求也越来越高,为满足客户加工工艺需求,西铁城机床和宫野机床拉床的精密程度也是越来越高。本文主要讨论数控拉床设计、制造过程中如何满足和提高拉削工序中工件端面圆端跳精度的几种方法。 拉床可加工各种形状的通孔、通槽和各种形状外表面,具有生产效率高、成本低、工艺简单等特点。因此,拉削被广泛应用于这类零件的批量生产中。
一、影响工件端跳的因素
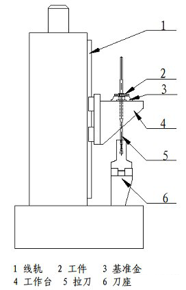
西铁城机床和宫野机床数控拉床的动力源为电力。如图,工作台与线轨滑块连接,工件放置于工作台平面上。拉削时,拉刀固定,工作台由电机驱动向上提升,完成拉削。从整个拉削过程,我们很容易分析出影响工件端跳的几个因素:
1、工作台主运动方向与工件端面的垂直度;
2、拉刀轴线与工作台面的垂直度;
所以想要提高工件端跳精度,必须从这几点着手。

二、提高端跳精度的措施
1、提高工作台主运动方向与工件端面垂直度
①提高工作台面与主运动方向的垂直度 根据立式拉床精度检验规范,工作台面与主运动方向的垂直度需达到 0.03/300,此精度的实现,主要由大件加工精度和线轨精度保证。
②提高基准金安装面与工作台面的平行度 如上图,基准金上平面与工件连接,下平面与工作台面连接。因此基准金与工作台越贴合、接触斑点越多,工件拉出的端跳越好。基准金与工作台采用配铲的装配工艺,能大大提高接触面积和接触刚性,使工件受力均匀,工件端面圆跳精度提高。
2、提高拉刀轴线与工作台面的垂直度
刀座中轴线与工作台面垂直度一般要求0.03/300。但是因为加工误差和装配的累积误差,这一数值往往不能达到。因此一般采用配铲的装配工艺来修正刀座安装面,*终满足垂直度要求。
3、提高设备主体件刚性
除了加工精度和装配精度,机床主体刚性也直接影响拉削精度。因此在设计拉床大件时,必须选择适当的筋板厚度,以提大件自身的固有频率,并合理排布筋板位置及形状。机床安装到工厂时,优先考虑铺设一定厚度的地基,并将将机床地脚浇注牢固,配以减震垫铁,这样可以减少发生震动的可能。
4、其它提高拉削精度的措施
拉削过程中,工作台等支撑承件不可避免地会发生变形,工件端面与拉削中心线垂直度不易保证,*终导致拉削精度不高。为了提高受此类因素影响的端跳精度,我们可以从工装夹具方面着手。

球面浮动支撑装置示意图 如图所示的一种球面浮动装置,当工作台面变形导致工件端面受力不均时,两个接触的球面会自动进行调节,保证受力方向始终与端面垂直。充分利用被加工零件自身拉前孔与端面的圆跳动精度进行合理的复映。因此,这种结构能有效地克服工作台自身变形带来的拉削影响。但是,为了保证浮动调节的灵活性,配合的球面需要热处理,硬度为HRC40-45,并经过配研后装配,充分降低两球面的磨擦力。
西铁城机床和宫野机床拉削端跳精度的提高,*终体现的都是设计的合理性、加工和装配的精度以及工装夹具结构等的提高。
大家有什么问题
可随时来电咨询讨论交流
这边有完备的售后
任何问题都热烈欢迎来咨询
网址:citizen-wys5.com
公司地址:苏州市吴中区越溪街道吴中大道2288号6幢B1-1F(102室)
联系电话:13801540864
公司QQ:240770210
公司邮箱:wang@sh-tsutoku.com
相关产品:

客服